首页
公司简介
产品展示
电动润滑泵
手(脚)动润滑泵
加油泵
双线分配器
单线分配器
换向阀、操纵阀及其附件
稀油润滑装置及稀油站
稀油润滑元件
管件部分
油气润滑元件
新闻中心
产品目录
荣誉资质
联系我们
电子邮局
产品导航
电动润滑泵
手(脚)动润滑泵
加油泵
双线分配器
单线分配器
换向阀、操纵阀及其附件
稀油润滑装置及稀油站
稀油润滑元件
管件部分
油气润滑元件
锥密封钢丝(及棉线)编织胶管总成
锥密封胶管接头螺纹接头
锥密封胶管接头螺纹接头JB/T(6144.1-2)-92
锥(及
密55°
封非
胶密
管封
接管
头螺
公纹
制)
螺接
纹头
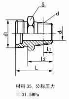
标记示例(1)公称通径
DN6的锥密封胶管接头55°非密封管螺纹接头:
锥接头6/G1/8
(2)公称通径DN10,端连接螺纹d=M14×1.5的
锥密封胶管公制螺纹接头:锥接头10/M14×1.5
公称
通径
DN
(a)公制
螺纹
(b)55°
圆锥管
螺纹接头
(a)、(b)
接头d
d1
do
S
l1
l2
L
重量
kg
4
M10×1
G1/8
M16×1.5
2.5
18
12
20
31
0.03
6
M10×1
G1/8
M18×1.5
3.5
18
12
20
31
0.04
8
M10×1
G1/8
M20×1.5
5
18
12
21
34
0.06
10
M14×1.5
G1/4
M22×1.5
7
24
14
22
35
0.08
10
M18×1.5
G3/8
M24×1.5
8
27
14
25
39
0.10
15
M22×1.5
G1/2
M30×2
10
30
16
26
40
0.14
20
M27×2
G3/4
M33×2
13
41
18
30
46
0.32
20
M27×2
G3/4
M36×2
17
41
18
37
52
0.56
25
M33×2
G1
M42×2
19
55
20
38
55
0.71
32
M42×2
G11/4
M45×2
24
55
22
41
58
0.78
40
M48×2
G11/4
M56×2
30
60
24
44
63
0.96
50
M60×2
G2
M68×2
40
75
26
50
71
1.14
锥(及
密60°
封非
胶密
管封
接管
头螺
55°纹公制)
螺接
纹头
标记示例(1)公称通径
DN6的锥密封胶管接头55°非密封管螺纹接头:
锥接头6/G1/8
(2)公称通径DN10,端连接螺纹d=M14×1.5的
锥密封胶管公制螺纹接头:锥接头10/M14×1.5
公称
通径
DN
(a)55°密封
管螺纹接头
(b)60°密封
管螺纹接头
(a)、(b)
d
l1
d
l1
d1
do
S
l2
L
重量
kg
4
R1/8
4
Z1/8
4.572
M16×1.5
2.5
18
17
29
0.03
6
R1/8
4
Z1/8
4.572
M18×1.5
3.5
18
17
29
0.04
8
R1/8
6
Z1/8
4.572
M20×1.5
5
18
18
30
0.06
10
R1/4
6.4
Z1/4
5.080
M22×1.5
7
24
22
34
0.08
10
R3/8
6.4
Z3/8
6.096
M24×1.5
8
27
24
38
0.10
15
R1/2
8.2
Z1/2
8.128
M30×2
10
30
27
41
0.14
20
R3/4
9.5
Z3/4
8.611
M33×2
13
41
28
44
0.32
20
R3/4
9.5
Z3/8
8.611
M36×2
17
41
38
56
0.56
25
R11
10.4
Z11
10.16
M42×2
19
55
39
59
0.71
32
R111/4
12.7
Z111/4
10.66
M45×5
24
55
44
64
0.78
40
R111/2
12.7
Z111/2
10.66
M56×2
30
60
46
68
0.96
50
R12
15.9
Z12
11.07
M68×2
40
75
1.14
胶
管
接
头
推
荐
长度(参考)
装配长L
320
360
400
450
500
560
630
710
800
900
1000
1120
1250
1400
偏差
+20
0
+25
0
+30
0
装配长L
1600
1800
2000
2240
2500
2800
3000
4000-5000
≥5000
偏差
+40
0
+50
0