首页
公司简介
产品展示
电动润滑泵
手(脚)动润滑泵
加油泵
双线分配器
单线分配器
换向阀、操纵阀及其附件
稀油润滑装置及稀油站
稀油润滑元件
管件部分
油气润滑元件
新闻中心
产品目录
荣誉资质
联系我们
电子邮局
产品导航
电动润滑泵
手(脚)动润滑泵
加油泵
双线分配器
单线分配器
换向阀、操纵阀及其附件
稀油润滑装置及稀油站
稀油润滑元件
管件部分
油气润滑元件
LQ系列列管式冷却器(1.0~1.6MPa)
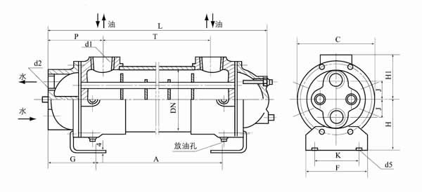
2LQGW型冷却器
2LQGW型冷却器外形图及尺寸
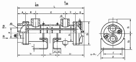
2LQG2W型(固定管板式)冷却器
2LQG2W型(固定管板式)冷却器外形图及尺寸
4LQF3W型冷却器
<< 上一页
>> 下一页