一、概 述
DDRB-N(原ZB)型多点润滑泵适用于润滑频率较低,润滑点在50点以下,公称压力为31.5MPa的多线式中小型机械设备集中润滑系统中,直接或通过单线分配器向各润滑点供送润滑脂的输送供油装置。特别适用于冶金、矿山、重机、港口运输建筑等单机设备。
|
|
|
二、技术参数
出油口数 |
公称压力Mpa |
每日排量ml/次 |
贮油容积L |
给油次数 |
电机功率kW |
重量kg |
1~14 |
31.5 |
1.8;3.5
5.8;10.5 |
10 30 |
22 |
0.18 |
43 |
使用介质为锥入度不低于265(25℃,150g)1/10mm的润滑脂或粘度等级大于N68的润滑油,工作环境温度为-20~80℃。
|
| 三、型号说明 |
|
|
四、动作说明
|
|
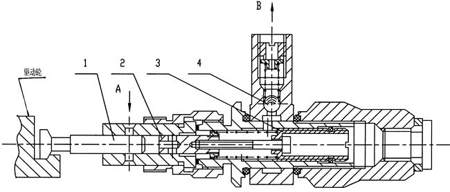
DDRB-N型多点润滑泵主要由贮油器、减速机构、压油柱塞泵和电动机等部分组成。
电动机驱动蜗杆、蜗轮减速转动,蜗轮轴带动偏心驱动轮以低速转动,由驱动轮的拉盘带动压油柱塞泵元件柱塞作往复的吸压油运动,从而各泵元件的出油口向外排出润滑剂。 |
| |
| 五、外形尺寸 |
 |
| |
| 六、使用要领 |
1、该型多点润滑泵应安装在环境温度合适,灰尘少,便于检查、维护保养及方便补脂的地方。
2、向贮油器内补脂必须使用加油泵从贮油器的加油口加入,严禁揭盖加入不经过滤的使用介质。
3、按贮油器筒壁上旋向牌规定的旋向进行电机接线,不得反转。
4、给油口数可在1~14范围内任意选择,根据设备需要不用的压油柱塞泵元件可以自行拆下,螺孔用M20×1.5螺塞封堵即可。
5、给油量的调整,按下图调节序3螺套的位置即可获得。 |
 |
1—工作活塞 2—控制活塞 3—调节螺套 4—单向阀 |
| |